33例电气施工注意事项,看完后不好再犯!
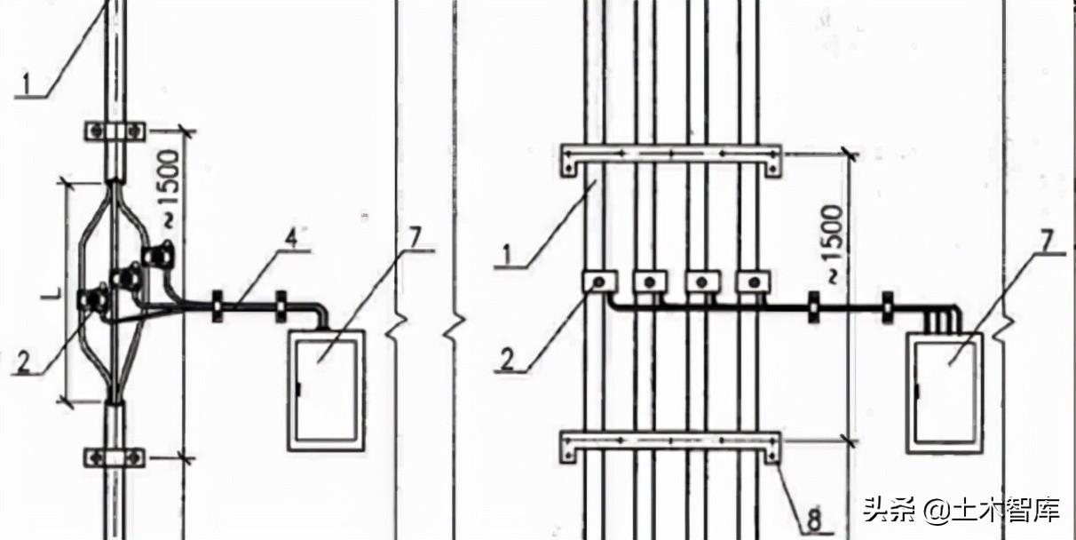
埋地等电位扁铁焊接处以及焊接钢管均需要使用沥青漆做防腐处理
镀锌钢管严禁使用电焊焊接。
吊筋固定线管时间距不大于1.0米
成排导管在一起排布弯头处没有使用吊筋吊装
弱电专业做的接地联接
管通过轻质隔墙通贯龙骨时使用开孔器开孔的做法
轻质隔墙接线盒在龙骨上的固定使用横龙骨拉锚固定
配电箱安装时使用宽度一样的木龙骨卡箱子的边缘保证箱体安装好后与墙面平行
使用开孔器开进线孔
在安装时箱体必须固定牢固安装垂直度允许偏差为1.5%o 下图为没有固定牢固导致安装好后配电箱倾斜
接线盒处的导线之间的缠绕匝数为4-6圈。
导线接头处进行搪锡处理,接头需要使用两层胶布包扎,一层防水、一层绝缘胶布
插座并线时进行搪锡处理
导线连接完后需要进行绝缘遥测确保安装设备时线路的安全,防止安装好灯具或者设备后不能正常合闸
灯带连接时不要留缝隙否则会留下黑影
使用金属软管通过变形缝
灯具安装金属软管使用专用接头与灯具的连接 注意安装灯具时佩戴手套
软管连接不牢固导致管接头处脱落
相线连接的位置(两孔插座面对插座左侧为零线右侧为相线三孔左侧为零线右侧为相线上侧为地线)
左侧插座的上下方向装返右侧为正确的
有黄色的箭头可以看出总空开下控制下的分空开按照第一排算起1、4、7、10、13、16、19、21、24、27为A相空开的位置,空开所连接的相线导线的颜色均采用黄色。
第一排的零线按照进入A相的开关顺序跨接,一般采用2.5mm2的导线时跨接空开的个数不能超过三个。(照片中采用的是4mm2的导线股跨接较多。但是跨接的数量越多容易出问题的机会就越大,如果末端零线烧坏所有跨接的回路都会断电)
配电箱二次侧出线使用标签标注方便检修
导管长短不一而且没有进入竖向桥架。
汇流排的截面积远远小于接线端子的截面积这样可能接触面积不够容易导致汇流排和接线端子处发热量过大烧坏端子
存在问题:
1.使用三个1P空开代替一个3P空开作为三相空调开关。
2.管内有接头
存在问题
1.汇流排接线端子与导线不匹配。
2.配电箱侧面开孔出线。
空开一次侧烧坏(原因分析:由于导线压接不紧导致端子处发热量大烧坏)需要更换,因箱子为甲供可以利用箱内相同型号备用开关替换。
主零线需要进行搪锡处理或者使用接线端子。箱内空开需要按照公司的要求打印标识。
主进线(甲方安装)为铝线建议项目部与甲方协商使用铜铝过渡线鼻子压线或者进行搪锡处理。以免铜铝发生氧化还原反应是的铝线氧化。
使用软电缆请进行搪锡处理或者使用接线端子(线鼻子)
一次侧的相线需要按照A-黄、B-绿、C-红区分不同的相序(解决办法可以使用不同颜色的色带缠绕)
两个零线排之间需要增加跨接零线以保证导线载流量能够满足使用。
PS:关注头条 @技成电工课堂,学习电工、plc、变频伺服、数控机器人等知识。后台回复“资料”涨知识!
喜欢就赶紧收藏一下!
建筑电气工程如何施工?中建项目这样干
建筑电气工程是建筑工程中一项非常重要的分部工程,施工质量的好坏直接关系到观感及使用功能,在创优评审中尤为重要。本文以中建五局三公司项目标准化做法示例,全面总结建筑电气工程的施工工艺,以供大家参考学习。
1、成套配电柜、控制柜(屏、台)和动力、照明配电箱(盘)及控制柜安装
(1) 成套配电柜安装
工艺说明:
地下室明装的电气箱柜,需安装在型钢支架上,以避免墙面凝结水进入箱内。一般在柜下用10#槽钢立放做基础,基础型钢允许偏差:每米不直度与水平度为1mm,全长为5mm,全长不平行度为5mm。并在槽钢内侧需焊接地用镀锌六角螺栓M10×25供接地用。如果有电缆进出线时,还需在柜底预留基坑,以满足电缆的弯曲半径要求。
(2) 配电箱明装
工艺说明:
地上安装处的墙柱面抹灰没完成时,在箱后先用膨胀螺栓固定角钢支架,再用镀锌螺栓将箱体固定在角钢支架上。几个明装箱并列时,按最大箱顶标高不超过2.3m、且所有箱体顶平或底平的原则确定箱柜安装高度。柜、屏、台、箱、盘安装垂直度允许偏差为1.5‰,相互间接缝不应大于2mm,成列盘面偏差不应大于5mm。
(3) 配电箱暗装
工艺说明:
确定开孔位置,并开好孔;固定暗装箱体四角,确保暗装箱体的高度符合要求,并与墙面平正;若箱后仅能抹灰时,总包需在箱后挂钢丝网,再抹灰;若进箱的导管为几根并排暗装进箱时,管槽处也应挂钢丝网,再抹灰。
轻质隔墙上安装时,确定开孔位置,并开好孔;在装饰装好轻钢龙骨后,用拉铆钉或自攻螺丝将暗装箱体固定在轻钢龙骨上;暗装配电箱箱盖紧贴墙面,箱(盘)涂层完整。
(4) 空心砌块墙、加气砼砌块墙上安装
工艺说明:墙面抹完灰后,用镀锌丝杆将箱体的四角固定在空芯墙上。
(5) 电气导管进箱
工艺说明:
箱子应用开孔器开孔,一孔一套,管径与盒(箱)敲落孔应吻合。敲落孔大而管径小时,可用铁皮垫圈垫严或用砂浆加石膏补平齐,不得露洞。将管接入箱柜,并锁紧管端。
钢管进箱柜时,应在钢管附近预留一个4.2mm的孔供接地线进箱。箱内回路标识要求正确、清晰、齐全。
(6) 桥架进箱
工艺说明:
电缆桥架在箱柜外做抱脚连接。根据所连桥架的位置和箱柜里元器件的布置开孔,孔大小、间距与护口匹配,1根电缆1个孔。矿物电缆或单芯塑料绝缘电缆进箱柜时,一组电缆间的各进线孔应用1-2mm的缝相互连通。将电缆桥架末端用BVR-4引至箱柜地排。
(7) 箱内配线
工艺说明:
配电箱内要求标识清晰,PE排、N排、每一回路标识牌准确,电缆、电线排列整齐、有序,进线孔封堵严密。
2、电气设备试验和试运行
(1) 低压电气设备试验内容
工艺说明:
低压电器的试验项目,应包括下列内容:
1、测量低压电器连同所连接电缆及二次回路的绝缘电阻:电动机、电加热器及电动执行机构绝缘电阻值应大于0.5MΩ。
2、电压线圈动作值校验:线圈的吸合电压不应大于额定电压的85%,释放电压不应小于额定电压的5%;短时工作的合闸线圈应在额定电压的85%~110%范围内,分励线圈应在额定电压的75%~110%的范围内均能可靠工作。
3、低压电器动作情况检查。
4、低压电器采用的脱扣器应按使用要求进行整定;测量电阻器和变阻器的直流电阻。
5、低压电器连同所连接电缆及二次回路的交流耐压试验:当绝缘电阻值大于10MΩ时,用2500V兆欧表摇测1min,应无闪络击穿现象;当绝缘电阻值在1~10MΩ时,做1000V交流工频耐压试验,时间1min,应无闪络击穿现象。柜、屏、台、箱、盘回路中的电子元件不应参加交流工频耐压试验;48V及以下回路可不做交流工频耐压试验。
(2) 低压电气设备试验和试运行程序
工艺说明:
低压电气动力设备试验和试运行应按以下程序进行:
1、设备的可接近裸露导体接地(PE)或接零(PEN)连接完成,经检查合格,才能进行试验。
2、动力成套配电(控制)柜、屏、台、箱、盘的交流工频耐压试验、保护装置的动作试验合格,才能通电。
3、控制回路模拟动作试验合格,盘车或手动操作,电气部分与机械部分的转动或动作协调一致,经检查确认,才能空载试运行。
4、电动机应试通电,检查转向和机械转动有无异常情况;可空载试运行的电动机,时间一般为2h,记录空载电流,且检查机身和轴承的温升。
5、交流电动机在空载状态下(不投料)可启动次数及间隔时间应符合产品技术条件的要求;无要求时,连续启动2次的时间间隔不应小于5min,再次启动应在电动机冷却至常温下。空载状态(不投料)运行,应记录电流、电压、温度、运行时间等有关数据,且应符合建筑设备或工艺装置的空载状态运行(不投料)要求。
3、母线槽安装
(1) 母线槽安装
工艺说明:
封闭、插接式母线每段母线组对接续前,用1KV绝缘摇表摇测绝缘电阻,绝缘电阻值大于20MΩ,才能安装组对。水平母线高度不低于2.2m,水平直线段固定点间距不大于3m、拐弯处0.5m、距箱(盘)连接处或末端0.5m处。封闭式母线敷设长度超过40m、跨越建筑物的伸缩缝或沉降缝时应设置伸缩节。母线支架和封闭、插接式母线的外壳接地(PE)或接零(PEN)连接完成,母线绝缘电阻测试和交流工频耐压试验合格,才能通电。
(2) 母线槽垂直安装
工艺说明:
母线槽水平安装时,过墙处留洞应比母线槽的宽和高大50mm,穿楼板处洞每边比母线槽的尺寸大100mm。母线槽穿楼板洞处用50mm的面砖施工做挡水线,背面距桥架、母线槽20-30mm,桥架和母线槽周边嵌防火泥。层高在4.5m以内时,垂直安装的母线槽应在每层楼板上安装1套弹簧减振支架,插接箱顶300mm装1个支架;层高超过4.5m的,应增加一个支架,母线的接头不得位于楼板内。
4、桥架安装
(1) 桥架支架安装
工艺说明:
桥架在进出接线盒、箱、柜、转角、转弯和变形缝两端及丁字接头的三通500mm以内应设置固定点。800及以上桥架的水平弯头中心应加支架。支架与吊架距离上层楼板不应小于150-200mm,距梁底15-20mm;距地面高度不应低于100-150mm。所有三通、水平弯头处的支架应为固定支架。当铝合金桥架与钢支架固定时,在桥架与支架间加3mm厚橡胶垫,并在支架上敷通长接地母线桥架与支架间螺栓、桥架连接板螺栓固定紧固无遗漏,螺母位于桥架外侧。
(2) 桥架连接
工艺说明:
桥架接缝处应紧密平直,缝隙须维持在1mm以内。桥架分支处应采用导角处理,保证电缆的弯曲半径满足规范要求。竖直桥架安装应在桥架内设置横担用于电缆绑扎,且绑扎间距不大于1000mm。电缆桥架末端应设终端封头封堵。桥架敷设位于管道下方接口处应有防护措施:在该段桥架外壳的两个接口处各加盖1段100mm长的桥架盖板,加盖的盖板与原盖板间用塑钢土进行密封,避免积水。若利用桥架本体作为接地干线,应将每层桥架的端部用不小于16mm²的软铜线并联起来,并与总接地干线相联通。
(3) 桥架补偿装置
工艺说明:
直线段钢制电缆桥架长度超过30m、铝合金或玻璃钢制电缆桥架长度超过15m应用伸缩连接板连接;桥架经过建筑物的变形缝(伸缩缝、沉降缝)时,桥架本身应断开,留50mm宽的缝隙,桥架俩侧设置“伸缩连接板”(其螺栓固定孔为长条状),并与桥架侧边的连接螺栓在安装时不要拧紧以适应托盘梯架纵向伸缩;并用截面积不小于16mm2的跨接线做接地连接。
(4) 桥架防火封堵
工艺说明:
桥架过防火分区墙时应留20mm的缝隙。桥架内的电缆间的缝隙和最上面的电缆与桥架盖板之间用防火胶泥填实,桥架本体和结构间的缝隙先用胶泥填实,再用防火板作外表面封堵。桥架穿纵向防火分区,结构留洞时,要求洞比桥架长大100mm,宽大50mm。建筑高度<100m,每3层在楼板处做防火分隔;建筑高度≥100m,在每层楼板处做防火分隔。安装好竖井桥架,并在需做防火封堵的楼层处,距桥架盖板50mm左右的侧边各钻一个φ12的孔,要求孔比本层地面低100mm;并由土建在桥架穿楼板处做50mm-100mm宽,100mm高的挡水线。
(5) 桥架与导管连接
工艺说明:
桥架与导管连接,应采用锁母固定;除接设备和灯具外,不得使用金属或非金属柔性导管。采用金属软管与桥架连接时应使用专用接头。导管使用镀锌钢管或焊接钢管必须按照导管接地要求与桥架之间进行接地跨接。
(6) 桥架内电缆敷设
工艺说明:
电缆敷设前绝缘测试合格,才能敷设;电缆应逐根敷设、整理、绑扎完成之后再敷设第二根;大于45°倾斜敷设的电缆每隔2m处设固定点;电缆出入电缆沟、竖井、建筑物、柜(盘)、台处以及管子管口处等做密封处理;电缆敷设排列整齐,水平敷设的电缆,首尾两端、转弯两侧及每隔5~10m处设固定点。
5、电缆敷设
(1) 电缆在电缆沟内敷设
工艺说明:
电缆敷设前,用绝缘摇表摇测电缆每相线芯的绝缘电阻,1kv 及以下电缆应不小于100MΩ,6KV及以上电缆应不小于200MΩ。电缆沟内应清洁干燥,当设计无要求时,支架最上层至竖井顶部或楼板的距离不小于150~200mm,最下层至沟底或地面的距离不小于50~100mm,支架层间最小允许距离,控制电缆为120mm,10KV及以下电力电缆为150-200mm。
(2) 电缆在支架上敷设
工艺说明:
电缆在支架上敷设时,应按电压等级排列,高压在上面,低压在下面,控制电缆在最下面。垂直敷设或大于45°倾斜敷设的电缆,在每个支架上固定;交流单芯电缆或分相后的每相电缆固定用的夹具和支架,不形成闭合铁磁回路(不能用铁件固定,可以用尼龙扎带);电缆排列整齐,少交叉;水平敷设的电缆,首尾两端、转弯两侧及每隔5-10m处设固定点。电缆的首段、末端和分支处应设标志牌。
(3) 矿物电缆敷设
工艺说明:
矿物电缆建议单独敷设,如无法与其他绝缘电缆分开敷设时,或与其他绝缘电缆使用温度不一致时,应单独敷设或隔板分开。矿物电缆电缆下料后要用胶带包绕电缆端部不少于2层。电缆敷设时,每路电缆之间应留有不少于电缆外径的2倍间隙,如不留间隙应考虑载流量减少系数。
交流系统单芯电缆敷设应采取下列防涡流措施:1、电缆应分回路进出钢制配电箱(柜)、桥架;2、电缆应采用金属件固定或金属线绑扎,且不得形成闭合铁磁回路;3、当电缆穿过钢管(钢套管)或钢筋混凝土楼板、墙体的预留洞时,电缆应分回路敷设。
(4) 预分支电缆敷设
工艺说明:
预分支电缆施工前检查电缆通道,确认预分支电缆是否能通过贯通孔洞。再将电缆放在线架上,通常将电缆放在楼下,安装时将电缆提拉上去。提升过程中,不要对分支线施加张力,使用电缆重量4 倍以上强度的提升用绳缆,边提升,边检查,以免电缆受伤。提升用的电缆网套到达顶部时,将网套挂在预埋的吊钩上,并固定电缆中间部位,中间部位的固定间距1.5~2m。单芯电缆用马鞍线夹固定。
(5) 电缆穿刺分支连接
工艺说明:
穿刺线夹连接仅适用于塑料绝缘电缆,对于矿物绝缘电缆不适用;穿刺连接电缆宜沿墙明敷,桥架内穿刺连接时慎用。穿刺连接的主电缆外绝缘剥离长度为主电缆外径的50倍(且同一分支电缆的不同线夹应保持80-100mm的距离),以此长度均布各穿刺线夹的位置;当一层的分支电缆连接完后应及时送电进行分支质量验证,验证合格后再断电进行下一层的穿刺施工,并盖好本层桥架盖板或锁好本层电井门。
(6) 电缆防火封堵
工艺说明:
建筑高度超过100m时,穿每层楼板的电缆洞均需做防火封堵;建筑高度在100m及以内时,每3层做1次防火封堵。直接用防火胶泥封堵楼板洞即可。电缆沟应设置阻火墙,厚度不宜小于150mm,对于沟内电缆纵横交叉而又密集的场所(如电子计算机室电缆层)可用阻火包构筑阻火墙。凡穿越楼板的电缆孔、洞都应采用无(有)机防火堵料,防火隔板或阻火包进行封堵,其封堵厚度不应小于100mm,宜与楼板厚度齐平。
6、导管敷设
(1) 导管定位
工艺说明:
根据深化设计图与施工图确定各接线盒的位置,建筑模板安装好后,即可用卷尺和拉粉线方式确定线盒在模板上的位置,并用油漆进行盒位与导管走向标识。
(2) 导管固定
工艺说明:
暗配电气管应与垂直于导管走向的钢筋绑扎固定,绑扎位置要求:距线盒边,接头处不大于150mm,电线管绑扎点间的最大距离不大于1m,钢管绑扎点间的最大距离不大于1.5m。暗配平行导管间的最小净距不小于10mm;导管交叉处层叠不大于2层。
电气线管与线盒及管路坚固件必须同材质;接线盒的备用“敲落孔”一律不应敲落,中间接线盒应加盖封闭。导管在建筑物变形缝处应设补偿装置。
管材暗配时,弯曲半径不应小于管外径的6倍,埋设于地下或混凝土内时,其弯曲半径不应小于管外径的10倍,导管弯曲处的弯扁度不大于1%。
(3) 导管保护
工艺说明:
所有导管接头处均应用封口胶带包扎不少于三层;板内导管走向下的模板上应及时做好导管走向油漆标识;直埋于楼板内的导管,穿出地面或楼板的外露应控制在100mm左右,且不得在二次砌体的墙角处明露。为防止浇灌时水泥砂浆进入管内,单独向上的管口用竹节或专用护口反扣在上面,并用封口胶带固定。
(4) 导管与设备连接
工艺说明:
电气导管除连接灯具和电气设备处,一律不得采用柔性导管。刚性导管经柔性导管与电气设备、器具连接,柔性导管的长度在动力工程中不大于0.8m,在照明工程中不大于1.2m。可挠金属管或其他柔性导管与刚性导管或电气设备、器具间的连接采用专用接头;复合型可挠金属管或其他柔性导管的连接处密封良好,防液覆盖层完整无损;室外或屋顶进设备的电气导管,必须设置防水弯。
(5) 导管剔槽
工艺说明:
剔槽敷设时,割深度为管直径+1.5厘米,宽度确定为管直径+2.0厘米,如是多根并排敷设,宽度为N(根数)×(管直径+3.0厘米。 线盒的四周间隙确定为盒体尺寸+2厘米,以便于封实,盒口应高出毛墙1.0-1.5厘米,盒四周用砂浆粉宽1.0厘米护坡。应用强度等级不小于M10的水泥砂浆抹面保护,其厚度不应小于15mm。疏散照明线路采用耐火电线、电缆,穿管明敷或在非燃烧体内穿刚性导管暗敷,暗敷保护层厚度不小于30mm。墙面切槽配成多根线管时,开槽修补后,增铺铁丝网,防止墙面空鼓开裂。
(6) 焊接钢管连接
工艺说明:
厚壁黑钢管(SC钢管)采用套管焊接,套管长度应为管外径的1.5~3倍,不能对口焊接。在跨越套管的两端是不需要再做跨接线的,在跨越接线盒的两端,仍然需要用Φ6或者Φ8的圆钢做跨接线,焊接连接。一般是弯成Ω型。注意双面焊,焊接的长度为圆钢直径的6倍。焊接钢管进接线盒采用直角丝接进盒,内外两侧加六角锁纳子(纳子片)固定,钢管深入盒中除六角锁纳子外两个丝距离。
(7) 厚镀锌钢管连接
工艺说明:
厚壁镀锌钢管采用丝扣连接,连接处两端采用专用接地线卡跨接接地线。
(8) 套接扣压式薄壁钢导管(KBG管)连接
工艺说明:
套接扣压式薄壁钢导管管径DN≤25时,每端扣压点不应少于2处,管径DN≥32时,每端扣压点不应少于3处。连接扣压点深度不应小于1.0mm。管壁扣压形成的凹、凸点不应有毛刺。
(9) 套管紧定式钢导管(JDG管)连接
工艺说明:
JDG管径DN≥32时,连接套管每端的紧定螺钉不应小于2个。JDG管弯曲连接时,弯曲管两端管口分别插入套管接头凹槽处,用紧定螺钉定位后,进行旋紧至螺帽脱落。JDG管直管连接时,两管口分别插入直管接头中间,紧贴凹槽处两端,用紧定螺钉定位后,进行旋紧至螺帽脱落。当管与管、管与盒(箱)连接符合规范要求时,连接处可不设置跨接接地线。管路外壳应有可靠接地。
(10) PVC导管连接
工艺说明:
将加工好的管端涂上胶水,直接插入线管直接头或锁节内。单独向上的管口用竹节反扣在上面,并用封口胶带固定。并用配套的管塞封堵向上的管口。
不得在暗配的PVC管附近动火或烧电、气焊。厂家按照PVC穿线管的壁厚,有A型加厚型、B型通用型、C型薄壁型三种。也有按超轻型Z1(105),轻型Z1(205) 中型Z1(305) ,重型Z1(405)划分,不得混用。
(11) 电气管线砌体内直埋
工艺说明:
1、机电安装管线务必调至居中;2、100厚墙体砌筑需切砖或定制特定U型砖;3、强、弱电箱处设置单边过梁;4、机电安装管线及线盒提前全部按图纸及设计变更安装到位,验收合格,方可进行砌体施工;5、土建砌体工程与机电安装单位穿插配合。6、砌体施工过程中,要求机电安装人员现场配合,交底到位,避免因线盒安装偏差而影响预留孔洞过大;7、砌体施工过程中,严格按照规范执行,尤其对于因直埋工艺引起的超过300洞口应设置过梁(设置单边过梁可解决)。
7、管内穿线
(1) 管内穿线
工艺说明:
三相或单相的交流单芯电缆,不得单独穿于钢导管内。管内穿线的保护管其导线的总截面积(包括外护层)不应超过管内截面面积的40%。作电缆保护管时,其穿管的内径不应小于电缆外径的1.5倍。导线在管内不应有接头,接头应在接线盒内进行。当采用多相供电时,同一建筑物、构筑物的电线绝缘层颜色选择应一致,即保护地线(PE线)应是黄绿相间色,零线用淡蓝色;相线用:A相——黄色、B相—绿色、C相——红色。
(2) 导线预留
工艺说明:
接线盒、开关盒、插座盒及灯头盒内的导线的预留长度应为120mm;配电箱内导线的预留长度应为配电箱体周长的1/2;出户导线的预留长度应为1.5m。穿插座回路线时,导线在中间线盒处不要剪断,按预留要求长度留好后,直接穿向下一个线盒。
(3) 导线连接
导线铰接法
导线缠绕卷法
导线套线帽连接
工艺说明:
BV-6及以下采用阻燃型安全压接帽连接,多股铜芯线搪锡或压接。单芯铜导线的直线连接可以采用铰接法或缠绕卷法。绞接法适用于4mm2 及以下的单芯线连接。缠绕卷法适用于6mm2 及以上的单芯线的直接连接。
芯线与电器设备的连接应符合下列规定:1、截面积在10mm2及以下的单股铜芯线和单股铝芯线直接与设备、器具的端子连接;2、截面积在2.5mm2及以下的多股铜芯线拧紧搪锡或接续端子后与设备、器具的端子连接;3、截面积大于2.5mm2的多股铜芯线,除设备自带插接式端子外,接续端子后与设备或器具的端子连接;多股铜芯线与插接式端子连接前,端部拧紧搪锡;4、多股铝芯线接续端子后与设备、器具的端子连接;5、每个设备和器具的端子接线不多于2根电线。
8、电缆头制作
(1) 干包电缆头制作
工艺说明:
电缆的芯线连接金具(连接管和端子),规格应与芯线的规格适配,且不得采用开口端子。电缆护套层不应在屏柜外剥落,剥落起始处必须做成爪型套绝缘、密封。
(2) 热缩电缆头制作
工艺说明:
加热温度应控制在到110℃—130℃,加热时应遵循安装程序中推荐的起始收缩部位和方向,由下往上收缩有利于排除气体和增强密封。套入每层管件前,被包敷部位和粘接密封段应预热,随后用清洗纸清洗。收缩完毕的管件应光滑无折皱,能清晰看出其原有的结构轮廓。密封部位有少量密封胶挤出表明密封完善。
(3) 矿物电缆中间头制作
工艺说明:
电缆中间连接应采用压装型、压接型、螺丝连接型中间连接端子连接;截面35mm2以上电缆终端必须采用压装型终端接线端子。除在水平桥架内敷设外,电缆中间连接附件及其两侧300mm以内的电缆均应进行可靠固定,并应做好色标。水平敷设在桥架内的电缆应顺直,中间连接附件不得承受外力。
(4) 矿物电缆终端头制作
工艺说明:
单芯矿物电缆可制作热缩型终端头或封罐型终端头;多心矿物电缆只能制作封罐型终端头。多芯电缆绝缘测试还包括线芯之间的绝缘测试。电缆封端应随电缆敷设及时安装。安装封端前应对电缆进行绝缘电阻测试,其绝缘电阻值不应小于100MΩ。
9、灯具安装
(1) 普通灯具安装
地下室灯具安装
走廊灯具安装
变配电室灯具安装
工艺说明:
灯具重量大于3kg时,固定在螺栓或预埋吊钩上;并按灯具重量的2倍做过载试验;软线吊灯,灯具重量在0.5kg及以下时,采用软电线自身吊装;大于0.5kg的灯具采用吊链,且软电线编叉在吊链内,使电线不受力;灯具固定牢固可靠,不使用木楔。每个灯具固定用螺钉或螺栓不少于2个;当绝缘台直径在75mm及以下时,采用1个螺钉或螺栓固定;变配电室和发电机房的灯具不得安装在电气柜、母线槽的正上方;成线的灯具,中心偏差不大于5mm。
(2) 投光灯安装
工艺说明:
投光灯底座应固定牢固,按需要的方向将驱轴拧紧固定。
(3) 装饰吊灯安装
工艺说明:
花灯吊钩圆钢直径不应小于灯具挂销直径,且不应小于6mm。大型花灯的固定及悬吊装置,应按灯具重量的2倍做过载试验。
(3) 安全出口灯安装
工艺说明:
疏散照明由安全出口标志灯和疏散标志灯组成。安全出口标志灯距地高度不低于2m,且安装在疏散出口和楼梯口里侧的上方。
(4) 疏散指示灯安装
工艺说明:
疏散标志灯安装在安全出口的顶部,楼梯间、疏散走道及其转角处应安装在1m以下的墙面上。不易安装的部位可安装在上部。疏散通道上的标志灯间距不大于20m(人防工程不大于10m)。
10、开关插座安装
(1) 插座安装
工艺说明:
当接插有触电危险家用电器的电源时,采用能断开电源的带开关插座,开关断开相线;潮湿场所采用密封型并带保护地线触头的保护型插座,安装高度不低于1.5m。当不采用安全型插座时,托儿所、幼儿园及小学等儿童活动场所安装高度不小于1.8m;车间及试(实)验室的插座安装高度距地面不小于0.3m;特殊场所暗装的插座不小于0.15m;同一室内插座安装高度一致;暗装的插座面板紧贴墙面,四周无缝隙,安装牢固,表面光滑整洁、无碎裂、划伤,装饰帽齐全。地插座面板与地面齐平或紧贴地面,盖板固定牢固,密封良好。
(2) 开关安装
工艺说明:
开关安装位置便于操作,开关边缘距门框边缘的距离0.15~0.2m,开关距地面高度1.3m~1.4m。暗装的开关面板应紧贴墙面,四周无缝隙,安装牢固,表面光滑整洁、无碎裂、划伤,装饰帽齐全。
(3) 成排开关、插座安装
工艺说明:
相同型号并列安装及同一室内开关安装高度一致,且控制有序不错位。并列安装的拉线开关相邻间距不小于20mm。成排安装的开关应端正、牢固、间距均匀,间距不宜大于2mm。
11、建筑物照明通电试运行
(1) 照明通电试运行步骤
工艺说明:
一、通电试运行前检查:1复查总电源开关至各照明回路进线电源开关接线是否正确;2、照明配电箱及回路标识应正确一致;3、检查漏电保护器接线是否正确,严格区分工作零线(N)与地线(PE),地线(PE)严禁接入漏电开关;4、检查开关箱内各接线端子连接是否正确可靠;5、断开各回路分电源开关,合上总进线开关,检查漏电测试按钮是否灵敏有效。
二、分回路试通电:1、当各回路灯具等用电设备开关全部置于断开位置;2、逐次合上各分回路电源开关;3、分回路逐次合上灯具等的控制开关,检查开关与灯具控制顺序是否对应、风扇的转向及调速开关是否正常;4、用试电笔检查各插座相序连接是否正确,带开关插座的开关是否能正确关断相线。
三、故障检查整改:1、发现问题应及时排除,不得带电作业;2、对检查中发现的问题应采取分回路隔离排除法予以解决;3、对开关一送电,漏电保护就跳闸的现象重点检查工作零线与保护零线是否混接、导线是否绝缘不良;4、系统通电连续试运行。
四、通电试运行记录, 每2h记录一次。
(2) 照明通电试运行要求
工艺说明:
照明系统通电,灯具回路控制应与照明配电箱及回路的标识一致;开关与灯具控制顺序相对应。
公用建筑照明系统通电连续试运行时间应为24h,民用住宅照明系统通电连续试运行时间应为8h。所有照明灯具均应开启,且每2h记录运行状态1次,连续试运行时间内无故障。
12、防雷接地安装
(1) 避雷引下线
工艺说明:接地装置的焊接应采用搭接焊,搭接长度应符合下列规定:扁钢与扁钢搭接为扁钢宽度的2倍,不少于三面施焊;圆钢与圆钢搭接为圆钢直径的6倍,双面施焊;圆钢与扁钢搭接为圆钢直径的6倍,双面施焊;扁钢与钢管,扁钢与角钢焊接,紧贴角钢外侧两面,或紧贴3/4钢管表面,上下两侧施焊;除埋设在混凝土中的焊接接头外,有防腐措施。
(2) 引下线标识
工艺说明:利用建筑物柱主筋作为接地引下线的每层用黄色油漆在引下线钢筋离地面0.3m处涂刷一圈,涂刷长度10cm。
(3) 屋面避雷带
避雷带过伸缩缝
避雷带与引下线连接
避雷带上引下线标识
工艺说明:
避雷线应按水平或垂直敷设,亦可与建筑物倾斜结构平行敷设;避雷线应平直、牢固,不应有高低起伏和弯曲现象,距离建筑物表面100mm。支持件间的距离,在水平直线部分宜为0.5~1.5m;垂直部分宜为1.5~3m;;转弯部分宜为0.3~0.5m。热镀锌钢材焊接时将破坏热镀锌防腐,应在焊痕内100mm内做防腐处理。避雷引下线处应采用金属铭牌制作永久标识。
(4) 接地电阻测试点
工艺说明:
人工接地装置或利用建筑物基础钢筋的接地装置必须在地面以上按设计要求位置设测试点。测试点应形成断接卡,平时采用镀锌螺栓紧固连接,便于检查测试。测试点处一般采用接线盒,如取消接线盒,应在洞壁上预埋洞盖的固定件,内壁用水泥砂浆抹光。测试点的制作应与建筑物的外装饰相结合,做到实用、美观。
(5) 屋面金属管道接地
工艺说明:
屋面金属管道必须接地可靠,不得直接焊接,必须采用接地卡环并采用铜芯软线与接地扁钢连接,且防松零件齐全。
(6) 屋面金属构件接地
金属楼梯接地
金属构件接地
屋面套管接地
工艺说明:
屋面外露的其他金属构件必须与避雷带连成一个整体的电气通路。各构件不得串接,必须单独与接地干线相连。
(7) 室内金属门窗接地
工艺说明:
第二类防雷建筑当建筑物高度超过45m时,应将45m及以上外墙上的栏杆、门窗等较大金属物直接或通过预埋件与防雷装置相连。第三类防雷建筑当建筑物高度超过60m时,应将60m及以上外墙上的栏杆、门窗等较大的金属物直接或通过预埋件与防雷装置相连。金属门窗接地时连接导体宜暗敷,并应在窗框定位后,墙面装饰层或抹灰层施工之前进行。
(8) 灯具金属外壳接地
工艺说明:
当灯具距地面高度小于2.4m时,灯具的可接近裸露导体必须接地(PE)或接零(PEN)可靠,并应有专用接地螺栓。
(9) 配电箱与金属导管跨接
工艺说明:
柜、屏、台、箱、盘的金属框架及基础型钢必须接地(PE)或接零(PEN)可靠;装有电器的可开启门,门和框架的接地端子间应用裸编织铜线连接,且有标识。金属导管与配电箱连接处必须做接地跨接,且各管路必须单独与汇流排或接地干线连接,不得串接。
(10) 配电室门(框)接地
工艺说明:
变配电室门与门框之间必须采用接地跨接,并与室内接地干线连接,形成良好的电气通路。配电间隔离和静止补偿装置的栅栏门及变配电室金属门铰链处的接地连接,应采用编织铜线。变配电室的避雷器应用最短的接地线与接地干线连接。
(11) 电气设备接地
工艺说明:
每个电气装置的接地应以单独的接地线与接地汇流排或接地干线相连接,严禁在一个接电线中串接几个需要接地的电气装置。重要设备和设备构架应有两根与主接地网不同地点连接的接地引下线。且每根接地引下线均应符合热稳定及机械强度的要求,连接引线应便于定期进行检查测试。
(12) 金属管道的跨接
工艺说明:
金属管道的连接处一般不需要加接跨接线。但给水系统的水表和金属管道中的小段塑料管需加跨接线,以保证金属管道的等电位联结和接地的有效。
(13) 配电室接地干线
工艺说明:
变配电室内明敷接地干线安装要求:接地装置便于检查,敷设位置不妨碍设备的拆卸与检修;当沿建筑物墙壁水平敷设时,距地面高度250~300mm;与建筑物墙壁间的间隙10~15mm;当接地线跨越建筑物变形缝时,设补偿装置;接地线表面沿长度方向,每段为15~100mm,分别涂以黄色和绿色相间的条纹;变压器室、高压配电室的接地干线上应设置不少于2个供临时接地用的接线柱或接地螺栓。
变配电室门口必须设置挡鼠板,且挡鼠板高度不小于60cm。
(14) 总等电位联结
工艺说明:
建筑物等电位连接干线应从与接地装置有不少于2处直接连接的接地干线或总等电位箱引出,等电位联结干线或局部等电位箱间的连接线形成环形网路,环形网路应就近与等电位联结干线或局部等电位箱连接。支线间不应串线连接。
(15) 局部等电位联结
工艺说明:
等电位联结端子板应采取螺栓连接,以便拆卸进行定期检测。等电位联结安装完毕后应进行导通性测试,测试用电源可采用空载电压为4~24V的直流或交流电源,测试电流不应小于0.2A。当测得等电位联结端子板与等电位联结范围内的金属管道等金属体末端之间的电阻不超过3Ω时,可认为等电位联结是有效的。如发现导通不良的管道连接处,应作跨接线,在投入使用后应定期作导通性测试。
注:欢迎大家关注小编的微信公众号“土木智库”,里面有小编整理的建筑行业的众多资料,有一建、二建、造价、消防视频和课件,欢迎大家的加入
相关问答
电工怎样使用防水绝缘胶带-辛子平77的回答-懂得
根据表面接合部位的间隙、接缝宽度,按工程设计要求选用规格尺寸。防水胶带是一种自融性、从形性良好的电气绝缘及防水密封胶带。表面粘接力强、热稳...
电工怎样使用防水绝缘胶带-B4K9LSINji的回答-懂得
首先,拆开包装,揭开并去除防水胶带的隔离层(一层薄膜),将防水胶带搭在离导体裸露2CM处,拉长200%,采用半搭式缠绕(一半压一半),缠绕至导体裸露处外2C...
电工防水胶带正确缠绕方法?
电工胶布使用方法:1.准备好电工胶布、剪裁用的小刀,拆开包装,揭开并去除防水胶带的隔离层(一层薄膜)2.将两根电源的一端去皮,露出铜丝,长...电工胶布使用方...
如何使用电工防水胶带?
首先,拆开包装,揭开并去除防水胶带的隔离层(一层薄膜),将防水胶带搭在离导体裸露2CM处,拉长200%,采用半搭式缠绕(一半压一半),缠绕至导体裸露处外2CM,...首先...
接电线防水胶布使用方法?
一、使用防水电工胶布方法1、防水胶带的施工方法根据表面接合部位的间隙、接缝宽度,按工程设计要求,选用规格尺寸。2、将表面接合部位和裂缝处擦拭干净。3...
电工布线标准工艺步骤?
电工布线步骤一、交底放线项目经理要对于工人进行技术交底,再由工人师傅依据设计请求放线,开槽宽度五0。放线要精确到位,无罅漏。二、撤除原有电线及开关插...
电线接头上面是先缠防水胶带再缠绝缘胶带,还是先缠绝缘胶带再缠防水胶带?
理论是先绝缘后防水!但家装基本用绝缘胶布一次性解决,如果是大电流工程才要作双层防护,家装像室外线及潜水泵接线才用双层保护,特别是潜水泵接线有些电工绝缘+...
家装电工施工工艺是什么-设计本有问必答
一、水电路施工工艺流程:1、在彻透客户对室内用电,用水的位置分布概况,根据设计图纸绘出简易明了的水电线路安装图,待客户认可后方可施工。2、...
水电工做防水吗,水电工做防水吗知识?
水电工不做防水的,一般卫生间防水是泥瓦工做,泥瓦工主要负责的项目是墙壁、顶壁、马桶以及地面等大面积的防渗,水电工在卫生间装修过程中只负责电路和水路的安...
室内电工施工流程有哪些?-设计本有问必答
1、先要拆改格局。涉及到拆墙打墙打洞,增加墙体隔层等。力工活及泥水瓦工活;2、改布水电管线。布置各种电器设备接口及连接。电工等技术工种;3、...



